This year's Lantern Festival fell on the weekend, I wonder if everyone went to see the lanterns and eat tangyuan (sweet glutinous rice balls)? Eating tangyuan is the most ritualistic part of the Lantern Festival each year. With the bright moon in the sky and tangyuan in the bowls, families gather together, symbolizing reunion and auspiciousness.
However, should one eat tangyuan or yuanxiao? Sweet or savory? Due to regional differences across the country, these questions spark debates every year.
Carbonstop specializes in carbon management, and discussing whether to eat tangyuan or yuanxiao and what flavor to choose is not our forte. Instead, let’s use our professional carbon management SaaS software—Carbon Cloud CCloud—to calculate the carbon footprint of eating a bowl of tangyuan today!
As a southerner, I often eat black sesame-filled tangyuan, so to indulge my preference, we will calculate the carbon footprint of a bowl of black sesame tangyuan!

For ordinary consumers, the lifecycle of a bowl of black sesame tangyuan begins with purchasing raw materials from a supermarket. First, we need to identify the emission sources at each stage of its lifecycle.
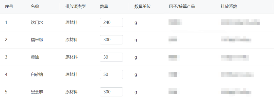
1. Raw Material Acquisition Stage
The most common and basic ingredients for making black sesame tangyuan are glutinous rice flour, black sesame seeds, white sugar, butter, and water. These ingredients can typically be purchased at a nearby supermarket. During this process, the emission sources include the carbon emissions from the ingredients themselves and the emissions generated from traveling to and from the supermarket using transportation.
2. Production and Manufacturing Stage
The main steps in this stage involve making the black sesame filling and cooking the tangyuan. The primary emission source is the natural gas consumed during the cooking process.
3. Distribution and Storage Stage
For tangyuan made at home, the quantity is usually just enough for one meal, unlike in food factories where distribution and storage are involved. Therefore, emissions in this stage can be negligible.
4. Product Use Stage
This stage involves eating the tangyuan, which does not generate emissions, so it can also be ignored.
5. Waste Disposal Stage
In this stage, kitchen wastewater needs to be handled, and the emission source is the emissions generated from treating the wastewater.
Next, we can calculate the carbon footprint of a bowl of tangyuan.
Using basic ingredients, one generally needs black sesame seeds, white sugar, butter, glutinous rice flour, and warm water. Additionally, there is usually a supermarket within 1.5 km of home, accessible by public bus.

During the cooking process, roasting the black sesame seeds usually takes about 7 minutes, boiling the water for kneading the dough takes around 3 minutes, and cooking the tangyuan takes approximately 15 minutes, totaling an estimated 25 minutes of gas stove usage. At a rate of 0.026 cubic meters of gas per minute, this would consume about 0.65 cubic meters of natural gas.
Finally, handling the kitchen wastewater involves disposing of the water used for cooking tangyuan, plus any leftover soup, estimated at about 2 liters.
In summary, the total emissions amount to approximately 3.52 kilograms of CO2 equivalent. This quantity of tangyuan can be divided into 4 servings, so the average emission per bowl is about 0.88 kilograms of CO2 equivalent.
Of course, the way each person cooks tangyuan varies, leading to some differences in actual emissions. However, cooking tangyuan is relatively healthy and environmentally friendly compared to many other ingredients and cooking methods. Generally, cycling 5 kilometers can offset the emissions from one bowl of tangyuan.
Low carbon and eco-friendly, happy and united! After enjoying a warm bowl of tangyuan yesterday, you might consider cycling 5 kilometers today to offset the carbon emissions from that bowl of tangyuan and contribute to the cause of carbon neutrality!
